Hướng dẫn chi tiết cách sử dụng máy thủy bình trong đo đạc trắc địa
CÁCH SỬ DỤNG MÁY THỦY BÌNH
CÁCH SỬ DỤNG MÁY THỦY CHUẨN (THỦY BÌNH) QUANG HỌC
* CÁC THAO TÁC ĐO MÁY ĐO THỦY CHUẨN :
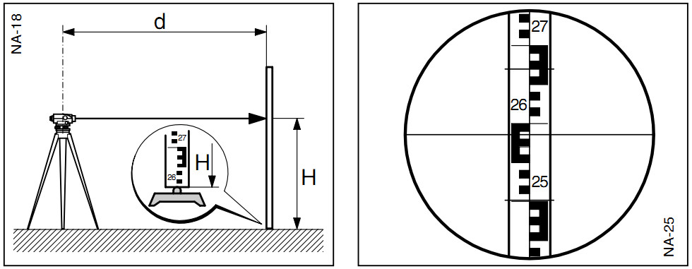
I. ĐỌC ĐỘ CAO
1. Đặt máy thủy chuẩn, cân bằng máy , điều chỉnh kính mắt để nhìn rõ lưới chỉ chữ thập .
2. Dựng mia đo thủy chuẩn thật thẳng đứng
3. Xoay máy thủy chuẩn ngắm gần đúng về phía mia đo .
4. Xoay ốc điều quang sao cho nhìn thấy ảnh mia đo rõ nét nhất .
5. Xoay ốc vi động ngang (vô tận) để ngắm đúng tâm mia đo (theo chiều đứng).
6. Kiểm tra và chỉnh sao cho bọt thủy tròn luôn nằm ở giữa vòng tròn .
7. Đọc độ cao mia , bằng chỉ giữa của lưới chỉ chữ thập . VD hình trên : H = 2.585m
II. ĐỌC KHOẢNG CÁCH :
- Thực hiện từ bước 1 tới 6 như ở mục I .
- Đọc số :
Chỉ trên : 2.670m
Chỉ dưới : 2.502m
---------------------------------------------
Chênh lệch L : 0.168m
Khoảng cách d: 16.8m
Kết quả :
Khoảng cách d = 100 x L
III. ĐỌC GÓC NGANG :
Các loại máy thủy chuẩn Leica NA720, NA724 , NA730 Plus được trang bị 1 bàn độ ngang , vạch chia nhỏ nhất của nó có thể là 1 độ hay 1 gon (grad , bàn độ chia theo 400 vạch)
* Yêu cầu : đo góc giữa 2 điểm A và B (xem hình trên)
- Thực hiện từ bước 1-6 như trong mục I . Sau đó ngắm chỉ đứng của lưới chữ thập vào tâm của mia đo đặt tại A .
7. Xoay bàn độ ngang về 0 độ (xem hình trên) .
8. Xoay máy đo ngắm về đúng tâm mia đo đặt tại B.
9. Đọc góc ngang từ bàn độ ngang , vd hình trên 60 độ .
IV. ĐO TUYẾN THỦY CHUẨN :
*Yêu cầu : xác định chênh cao ∆H giữa 2 điểm A và B
- Khi đo chọn khoảng cách từ máy thủy chuẩn tới mia sau và mia trước tương đối bằng nhau (d1 ~d2 , từ 40-50m).
*Trình tự đo tuyến thủy chuẩn (xem hình trên)
1. Đặt máy tại điểm I1 .
2. Dựng mia thủy chuẩn thắng đứng tại điểm A (mia sau).
3. Ngắm mia sau tại điểm A, đọc số đọc chỉ giữa (R).
4. Đặt mia đo tại điểm 2 , máy ngắm mia (trước) đọc số chỉ giữa (V)
5. Đặt máy tại I2 , ngắm máy đo về mia (sau) tại 2, đọc chỉ giữa (R).
6. Đọc mia trước tại điểm 3 .
7. Tiếp tục tương tự , cho đến khi đọc độ cao tại điểm B .
Kết quả :
∆H = tổng số đọc mia sau – tổng số đọc mia trước
MÔ TẢ SƠ BỘ MÁY THỦY CHUẨN LEICA NA 720
- Vi động ngang vô tận , 2 bên
- Bọt thủy tròn
- Bàn độ ngang và vòng xoay
- Ốc cân máy
- Đế nhựa
- Kính vật
- Ngắm sơ bộ
- Ốc điều quang
- Nắp che của sổ bàn độ
- Kính mắt
- Gương phản xạ (hình ảnh bọt thủy tròn)
Sau khi đã hoàn tất các bước nêu trên các bạn có thể bắt đầu đo khoảng cách từ xa để hoàn thành công tác trắc địa một cách nhanh chóng hơn. Nhìn chung máy thủy bình không hề khó sử dụng, cơ bản bạn cần phải chuẩn bị kỹ khâu cân bằng máy để đảm bảo không bị sai số khi đo đạc.
|
Máy thủy bình laser giải pháp đo cao hiệu quả cho công tác trắc địa |
Nên mua máy thủy bình chính hãng ở đâu?
Tuy nhiên để giảm thiểu sai số, giúp công tác trắc địa diễn ra nhanh chóng và chính xác hơn các doanh nghiệp chỉ nên chọn mua máy thủy bình của những đơn vị uy tín, đảm bảo chất lượng của máy. Tiện lợi và đơn giản hơn, quý doanh nghiệp có thể liên hệ ngay với chúng tôi để được tư vấn và cung cấp máy thủy bình chính hãng Leica với mức giá tốt nhất. Đặc biệt hơn chúng tôi cam kết hỗ trợ kỹ thuật xuyên suốt dòng đời của máy đảm bảo mang đến sự hài lòng dành cho quý khách hàng khi đã tin tưởng và lựa chọn chúng tôi.
Máy thủy bình chính hãng cho kết quả đo chính xác nhanh chóng hơn rất nhiều
Máy thủy bình chính hãng Leica giá tốt
Gọi ngay Mr.Tuấn - 0903.811.775

CÔNG TY CP TƯ VẤN THƯƠNG MẠI DỊCH VỤ KỸ THUẬT NGỌC CẢNH
Địa chỉ: VP: 55 Trần Quốc Toản, P. 8, Q. 3, TP. HCM
CN: 50/2/3B Nguyễn Đình Chiểu, P. 3, Q. Phú Nhuận, TP. HCM
Email: tuanleica99@gmail.com











Xem thêm